-
Трансформатори ТВК – 75 УХЛ4
Трансформатори для контактних електрозварювальних машин ТВК – 75 УХЛ4
Представляємо Вашій увазі трансформатори серії ТВК – 75 УХЛ4 виробництва ЗВП «НЕОН» УТОГ. Основне призначення трансформаторів цієї серії – живлення контактних електрозварювальних машин.
Трансформатор призначений для роботи у закритих приміщеннях у таких умовах:
• висота над рівнем моря до 1000м;
• температура навколишнього повітря від плюс 1 до плюс 40 ºС;
• відносна вологість навколишнього повітря 65% при температурі 20 ºС;
• температура охолоджувальної води не вище плюс 25 ºС;
• тиск води в системі охолодження від 1,5 до 3 кгс/см²;
• витрата води не менше 4,2 л/хв;
• навколишнє середовище невибухонебезпечне, що не містить пилу в концентраціях, що знижують параметри трансформатора в неприпустимих межах. Тип атмосфери II за ГОСТ 15150-69, не агресивна;
Основные характеристики серии ТВК – 75 УХЛ4.
Завантажити харак-ки
Найменування параметру Од. виміру Значення параметру Номінальна первинна напруга В 365 Номінальний зварювальний струм у повторно-короткочасному режимі роботи кА 25 Номінальний тривалий вторинний струм А 9000 Максимальна умовна потужність при ПВ=50% кВ•А 75 Номінальний тривалий первинний струм А 148 Струм холостого ходу, не більше % 6 Число ступенів регулювання - 8 Номінальний ступінь регулювання - 7 Маса, не більше кг 110
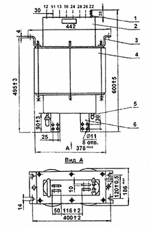
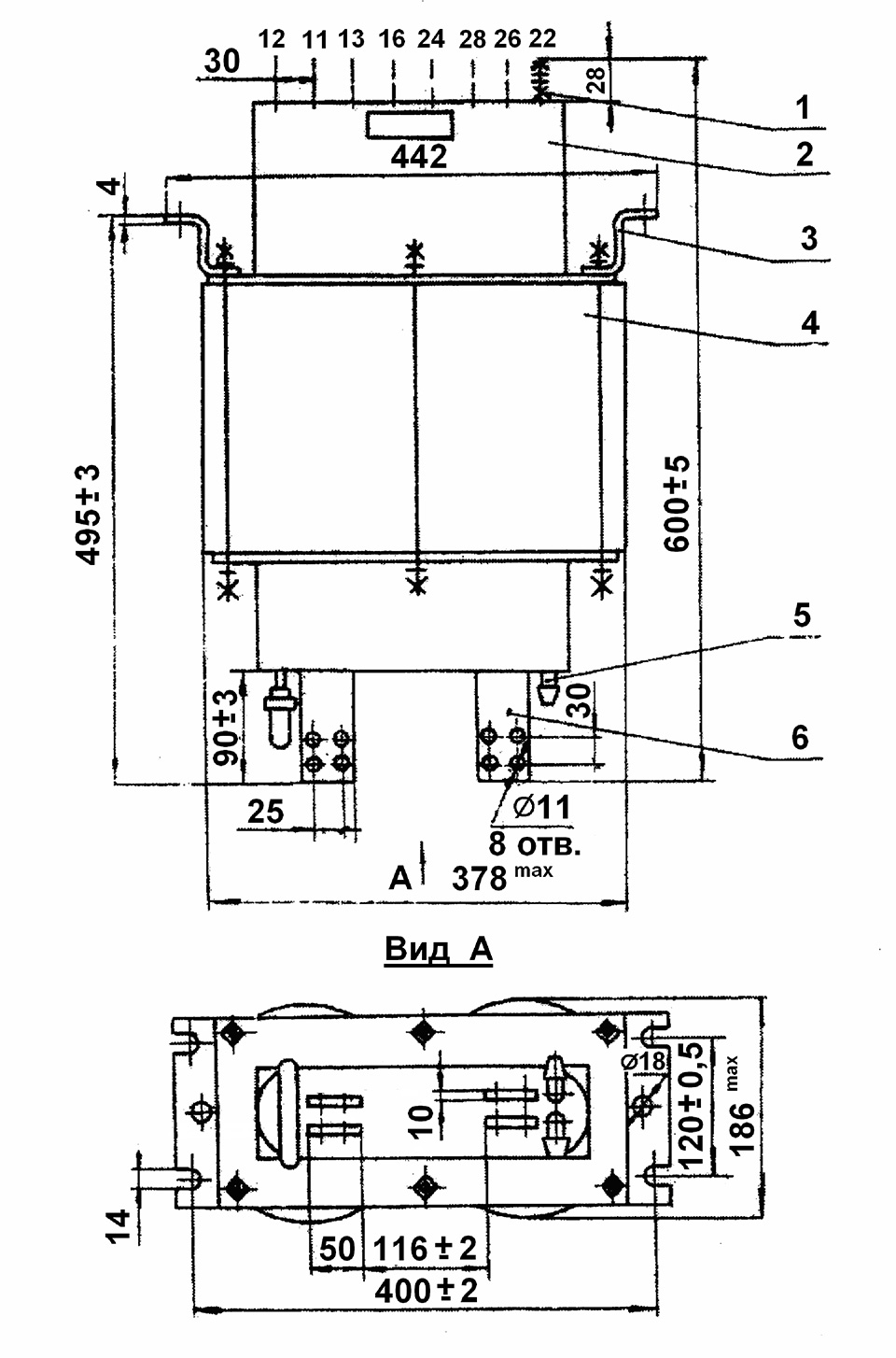
Улаштування, габаритні, установчі, приєднувальні розміри трансформатора.
Загальний вигляд трансформатора наведено на фото 2
1 – вводи обмотки ВН;
2 – блок обмоток;
3 – скоби для встановлення; 4 – магнитопровід;
5 – трубка для проведення охолоджувальної води;
6 – зажими вторинної обмотки.Галерея

